Полы, арки и перегородки в современном доме
вернуться

Котельников Владимир Семенович

Шрифт:
Устройство теплоизоляционного слоя

В качестве теплоизоляции применяются либо насыпь керамзита, либо плотные плиты пенополистирола. Главное требование к утеплителю – достаточная жесткость. Керамзит долговечнее и надежнее, но он проигрывает в плане тепло– и звукоизоляции. Но его все равно можно использовать при устройстве мокрой стяжки. Утепление плит перекрытия в квартире производить необязательно, здесь все зависит от желания хозяина.

Устройство гидроизоляционного слоя

Гидроизоляционный слой представляет собой уложенные полосы толстой пленки или рубероидные рулоны. Полосы материала должны быть размещены внахлест примерно по 10–15 см. Нахлест на стены, выходящие трубы водоснабжения и канализационные сливы, если они имеются, должен составлять 10 см. При этом трубы и материал теплоизоляции необходимо смазать герметиком или мастикой чуть выше уровня, до которого будет наливаться цементный раствор. Установка гидроизоляционного слоя обязательна для таких помещений, как ванная, туалет и кухня. В других комнатах он понадобится только лишь для защиты квартиры на первых этажах.

Армирование

Производится усиление слоя стяжки с помощью армирования лишь в случаях укладки на грунт. Выполняется с помощью формирования сетки из сваренной арматуры или специальной стальной сетки. В качестве альтернативы можно поместить в раствор бетона или цемента добавку в виде фибрина, который представляет собой волокнистый материал из металла или пластика.

Установка дополнительного оборудования

Если необходимо установить систему «теплый пол» или распределить проводку, то это выполняется именно на данном этапе. Все работы производятся с учетом технологических особенностей. Прокладываются и закрепляются трубы для водяного подогрева пола или размещаются нагревательные элементы для электрического теплого пола.

Процесс укладки стяжки

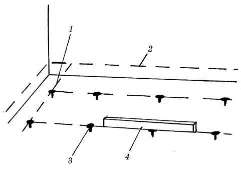
Для создания ровной стяжки необходимо использовать систему маяков, которые следует распределить по полу (рис. 5, 6).

Рис. 5. Штыревые маяки: 1 – натянутые шнуры; 2 – уровень верха стяжки; 3 – саморез; 4 – строительный уровень

Рис. 6. Маяки из направляющих профилей: 1 – демпферный слой; 2 – гидроизоляция; 3 – раствор;4 – ПН-профиль

Для установки маячковой рейки можно использовать раствор, которым впоследствии будет заливаться стяжка. В пол следует вкрутить шурупы по прямой линии параллельно стене. При этом нужно соблюдать отступ от стены в 20 см. Шляпки шурупов должны располагаться на одном уровне. Это можно проверить с помощью ручного или лазерного уровня. Шляпки должны располагаться на высоте ниже результирующего слоя стяжки на 6 или 10 мм, в зависимости от высоты реек. Расстояние между шурупами обычно варьируется в пределах 60–80 см, чтобы маяки, установленные на них, не прогибались.

Следующая линия с шурупами должна находиться уже на расстоянии 1–1,5 м от предыдущей.

Расстояние должно быть немного меньше, чем длина правила, с помощью которого выравнивается слой стяжки. Далее необходимо залить раствором шурупы, а поверх него закрепить маячковую рейку. Когда все рейки окончательно будут находиться в одной плоскости по уровню, нужно будет дождаться высыхания раствора, на котором они расположены. Маяки необходимы в любом случае, даже при небольшой площади помещения, так как выравнивание всегда должно происходить по уровню.

Для раствора можно использовать готовые смеси для выравнивания пола. В настоящее время они представлены в продаже в большом количестве. Многие из них обладают дополнительными свойствами. К каждому товару приложена своя инструкция.

Что касается обычной цементно-песчаной стяжки, то здесь главное – соблюдать пропорции цемента и песка 1: 3. Для достижения большей прочности рекомендуется добавить еще мешок клеевой смеси для плитки. В результате полученный раствор не должен сильно растекаться, но его консистенция не должна быть излишне сухой. Бетон не рекомендуется делать самим, экономичнее и качественнее будет заказать готовый. К тому же бетонная стяжка хороша только для частных домов и первых этажей многоквартирных.

  • Читать дальше
  • 1
  • 2
  • 3
  • 4
  • 5
  • 6
  • 7
  • 8
  • 9
  • 10
  • 11
  • ...

Private-Bookers - русскоязычная библиотека для чтения онлайн. Здесь удобно открывать книги с телефона и ПК, возвращаться к сохраненной странице и держать любимые произведения под рукой. Материалы добавляются пользователями; если считаете, что ваши права нарушены, воспользуйтесь формой обратной связи.

Полезные ссылки

  • Моя полка

Контакты

  • chitat.ebooker@gmail.com

Подпишитесь на рассылку: