1. каталог Private-Bookers
  2. Дом и досуг
  3. Книга "Полы, арки и перегородки в современном доме"
Полы, арки и перегородки в современном доме
Читать

Полы, арки и перегородки в современном доме

Котельников Владимир Семенович

Профессиональное мастерство

Дом и досуг

:

хобби и ремесла

,

сделай сам

.
2015 г.
На страницах данного издания вы найдете информацию о самых современных технологиях для устройства пола и возведения арок и перегородок. Советы, представленные в этой книге, помогут вам сэкономить время и деньги, а подробные схемы и рисунки облегчат процесс обучения новичков. Познакомившись с новинками в области отделочных материалов и технологий ремонта, вы сможете легко воплотить в жизнь свои самые яркие дизайнерские задумки.

Введение

Все когда-то сталкиваются с необходимостью начать ремонт в своей квартире или доме. Если вы приняли такое решение и вам предстоит нелегкая задача освоить самостоятельное устройство пола, возведение арок и перегородок – данная книга станет вам верным и надежным помощником. Порой бывает трудно разобраться, с чего начать ремонт, какие материалы выбрать, на что стоит обратить особое внимание. Чтобы проще представить себе сам процесс, вам необходима также определенная теоретическая база, подкрепленная примерами, иллюстрациями и подробными схемами, и данная книга призвана помочь в этом.

Здесь вы найдете подробное описание отделки пола, начиная от работ по заливке стяжки и заканчивая выбором и монтажом напольного покрытия. Особое внимание уделено современным технологиям: монтажу теплого пола, устройству наливных 3D-полов и т. д. Необходимо отметить, что разобраться в новшествах строительства будет просто даже человеку, не посвященному в тонкости этого дела.

В книге есть разделы, представляющие вниманию читателя технологии создания перегородок и арок, где подробно описаны не только методы их возведения, но и варианты отделки.

На страницах издания вы найдете полезные советы профессионалов. Кроме того, вся предоставленная информация дана с учетом возросших требований к долговечности, влаго– и износостойкости, пожаробезопасности и т. д.

Имея под рукой данное издание, вы с легкостью отремонтируете жилище, даже не имея строительного опыта. Используя полезные советы из этой книги, вы сможете воплотить в жизнь все самые яркие дизайнерские идеи, не потратив при этом лишних средств.

Полы

В современном дизайне особую роль играет качественная отделка пола. Сегодня уровень технологий, а также используемые строительные материалы позволяют создать надежный, функциональный и максимально комфортный пол, который будет соответствовать стилю всего помещения. Помимо такого требования, как эстетичность, полы должны соответствовать некоторым техническим нормам. Конструкция пола должна быть достаточно жесткой, прочной, исключающей деформации и прогибы. Покрытие следует выбирать износостойкое, отвечающее функциональному назначению помещения.

В конструкцию перекрытий должны входить звукоизолирующие материалы: древесноволокнистые или минераловатные плиты. Поддержать микроклимат в отапливаемом помещении поможет устройство в полах теплоизолирующей прослойки или покрытия с небольшим тепло поглощением. В зависимости от степени сохранения тепла можно выделить следующие разновидности пола:

– теплый (с ковровым или деревянным покрытием);

– средний (с покрытием из поливинилхлорида, пробкового линолеума и т. д.);

– холодный (на бетонной основе из плитки или цементной стяжки).

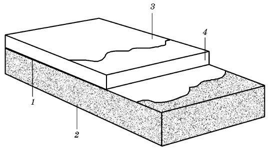
Любое покрытие выполняется по цементной или бетонной стяжке, которая должна быть сухой и идеально гладкой (рис. 1).

Рис. 1. Бетонная стяжка: 1 – адгезионный мост;2 – бетон; 3 – полимерное покрытие; 4 – пескобетон

Цементно-песчаные и бетонные стяжки изготавливают на основе раствора марки 50-100 или бетона. Предварительно готовится слой звуко– и теплоизоляции из песка, шлака или пористого бетона, на который, собственно, и укладывается стяжка. Толщина ее слоя устанавливается проектом. Рекомендуемое значение составляет 20–40 мм, хотя использование тонкозернистых сухих смесей позволяет получить прочное основание и при толщине стяжки до 5 мм. Также применяются смеси, выполненные по сетке, или с армирующим (волокнистым) наполнителем.

Как правило, основание пола изготавливается из ДСП, ДВП, гипсобетонных панелей, гипсоволокнистых и цементно-стружечных плит. В процессе эксплуатации происходит их деформация, вызванная высокой гигроскопичностью. Кроме того, они подвержены воздействию влаги и требуют основательной заделки швов, чтобы предотвратить в дальнейшем образование трещин.

Основания из легких бетонов отличаются более высоким качеством. Достаточно часто стяжки делаются из керамзитобетона.

При этом выравнивание такой поверхности требует большого расхода мастики. Если же использовать для выравнивания цементно-песчаный раствор, то теплотехнические характеристики пола значительно ухудшатся.

Для создания «теплых» стяжек используется легкий поризованный бетон. Применять сочетание газообразователя с целью поризации цементнопесчаных растворов не рекомендуется, поскольку в результате возникает неравномерное вспучивание, которое приводит к неравномерной толщине стяжки.

Практичнее использовать легкобетонные стяжки, в состав которых входят ПАВ (поверхностноактивные вещества) и мелко– или среднезернистые пористые заполнители (перлит, вспученный веркулит, опилки хвойных пород деревьев, гранулы вспененного полистирола и т. д.).

  • Читать дальше
  • 1
  • 2
  • 3
  • 4
  • 5
  • 6
  • ...

Профессиональное мастерство

Полы, арки и перегородки в современном доме
Большой справочник столяра. Все виды столярно-плотницких работ своими руками
Новейший справочник сантехника: все виды сантехнических работ своими руками

Private-Bookers - русскоязычная библиотека для чтения онлайн. Здесь удобно открывать книги с телефона и ПК, возвращаться к сохраненной странице и держать любимые произведения под рукой. Материалы добавляются пользователями; если считаете, что ваши права нарушены, воспользуйтесь формой обратной связи.

Полезные ссылки

  • Моя полка

Контакты

  • chitat.ebooker@gmail.com

Подпишитесь на рассылку: