Большая Советская Энциклопедия (ЭЛ)
вернуться

Большая Советская Энциклопедия

Шрифт:

Э. м. смешанного типа. Сочетание в одном приборе принципов формирования изображения с неподвижным пучком (как в ПЭМ) и сканирования тонкого зонда по объекту позволило реализовать в таком Э. м. преимущества ПЭМ, РЭМ и ПРЭМ. В настоящее время во всех ПЭМ предусмотрена возможность наблюдения объектов в растровом режиме (с помощью конденсорных линз и объектива, создающих уменьшенное изображение источника электронов, которое сканируется по объекту отклоняющими системами). Кроме изображения, сформированного неподвижным пучком, получают растровые изображения на экранах ЭЛТ с использованием прошедших и вторичных электронов, характеристические рентгеновские спектры и т. д. Оптическая система такого ПЭМ, расположенная после объекта, даёт возможность работать в режимах, неосуществимых в других приборах. Например, можно одновременно наблюдать электронограмму на экране ЭЛТ и изображение того же объекта на экране прибора.

Эмиссионные Э. м. создают изображение объекта в электронах, которые эмиттирует сам объект при нагревании, бомбардировке первичным пучком электронов, освещении и при наложении сильного электрического поля, вырывающего электроны из объекта. Эти приборы обычно имеют узкое целевое назначение.

Зеркальные Э. м. служат главным образом для визуализации электростатического «потенциального рельефа» и магнитных микрополей на поверхности объекта. Основным оптическим элементом прибора является электронное зеркало , причём одним из электродов служит сам объект, который находится под небольшим отрицательным потенциалом относительно катода пушки. Электронный пучок направляется в зеркало и отражается полем в непосредственной близости от поверхности объекта. Зеркало формирует на экране изображение «в отражённых пучках». Микрополя возле поверхности объекта перераспределяют электроны отражённых пучков, создавая контраст на изображении, визуализирующий эти микрополя.

Перспективы развития Э. м. Повышение PC в изображениях непериодических объектов до 1 A и более позволит регистрировать не только тяжёлые, но и лёгкие атомы и визуализировать органический мир на атомарном уровне. Для создания Э. м. с подобным разрешением повышают ускоряющее напряжение, разрабатывают ЭЛ с малыми аберрациями, в частности криогенные линзы, в которых используется эффект сверхпроводимости при низких температурах, работают над созданием методов исправления аберраций ЭЛ и т. д. Исследование механизма формирования частотно-контрастных характеристик изображения в Э. м. привело к разработке методов реконструкции изображения, которые осуществляются аналогично тому, как это делается в световой оптике, где подобные методы основаны на Фурье преобразованиях , а соответствующие расчёты производятся на ЭВМ.

Лит.: Eighth international congress on electron microscopy, Canberra, 1974; Стоянов П. А., Мосеев В. В., Розоренова К. М., Ренский И. О., Электронный микроскоп предельного разрешения ЭМВ-100Л, «Изв. АН СССР. Сер. физическая», т. 34, 1970; Хокс П., Электронная оптика и электронная микроскопия, пер. с англ., М., 1974; Деркач В. П., Кияшко Г. Ф., Кухарчук М. С., Электронозондовые устройства, К., 1974; Стоянова И. Г., Анаскин И. Ф., Физические основы методов просвечивающей электронной микроскопии, М., 1972; Oatley С. W., The scanning electron microscope, Camb., 1972; Grivet P., Electron optics, 2 ed., Oxf., 1972.

П. А. Стоянов.

Рис. 3. Сверхвысоковольтный электронный микроскоп (СВЭМ): 1 — бак, в который накачивается электроизоляционный газ (элегаз) до давления 3—5 атм; 2 — электронная пушка; 3 — ускорительная трубка; 4 — конденсаторы высоковольтного источника; 5 — блок конденсорных линз; 6 — объектив; 7, 8, 9— проекционные линзы; 10 — световой микроскоп; 11 — пульт управления.

Рис. 5. Схема регистрации информации об объекте, получаемой в РЭМ. 1 — первичный пучок электронов; 2 — детектор вторичных электронов; 3 — детектор рентгеновского излучения; 4 — детектор отражённых электронов; 5 — детектор светового излучения; 6 — детектор прошедших электронов; 7 — прибор для измерения наведённого на объекте электрического потенциала; 8 — прибор для измерения тока прошедших через объект электронов; 9 — прибор для измерения тока поглощенных в объекте электронов.

Рис. 6. Принципиальная схема просвечивающего растрового электронного микроскопа (ПРЭМ): 1 — автоэмиссионный катод; 2 —промежуточный анод; 3 — анод; 4 — отклоняющая система для юстировки пучка; 5 — диафрагма «осветителя»; 6, 8 — отклоняющие системы для развертки электронного зонда; 7 — магнитная длиннофокусная линза; 9 — апертурная диафрагма; 10 — магнитный объектив; 11 — объект; 12, 14 — отклоняющие системы; 13 — кольцевой коллектор рассеянных электронов; 15 — коллектор нерассеянных электронов (убирается при работе со спектрометром); 16 — магнитный спектрометр, в котором электронные пучки поворачиваются магнитным полем на 90°; 17 — отклоняющая система для отбора электронов с различными потерями энергии; 18 — щель спектрометра; 19 — коллектор; ВЭ — поток вторичных электронов hn — рентгеновское излучение.

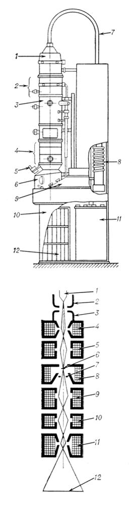
Рис. 1. Электронный микроскоп просвечивающего типа (ПЭМ): 1 — электронная пушка; 2 — конденсорные линзы; 3 — объектив; 4 — проекционные линзы; 5 — световой микроскоп, дополнительно увеличивающий изображение, наблюдаемое на экране: 6 — тубус со смотровыми окнами, через которые можно наблюдать изображение; 7 — высоковольтный кабель; 8 — вакуумная система; 9 — пульт управления; 10 — стенд; 11 — высоковольтное питающее устройство; 12 — источник питания линз.

Рис. 2. Оптическая схема ПЭМ. 1 — катод v-образной формы из вольфрамовой проволоки (разогревается проходящим по нему током до 2800 К); 2 — фокусирующий цилиндр; 3 — анод; 4 — первый (короткофокусный) конденсор, создающий уменьшенное изображение источника электронов; 5 — второй (длиннофокусный) конденсор, который переносит уменьшенное изображение источника электронов на объект; 6 — объект; 7 — апертурная диафрагма; 8 — объектив; 9, 10, 11 система проекционных линз; 12 — катодолюминесцентный экран, на котором формируется конечное изображение.

  • Читать дальше
  • 1
  • ...
  • 72
  • 73
  • 74
  • 75
  • 76
  • 77
  • 78
  • 79
  • 80
  • 81
  • 82
  • ...

Private-Bookers - русскоязычная библиотека для чтения онлайн. Здесь удобно открывать книги с телефона и ПК, возвращаться к сохраненной странице и держать любимые произведения под рукой. Материалы добавляются пользователями; если считаете, что ваши права нарушены, воспользуйтесь формой обратной связи.

Полезные ссылки

  • Моя полка

Контакты

  • chitat.ebooker@gmail.com

Подпишитесь на рассылку: